進入配電系統的雷電流大小和電涌保護器通流量的相關研究!
在浪涌保護器選型中,其放電電流,也就是通流容量的大小如何選擇是很關鍵的一項參數。所以,對進入配電系統的雷電浪涌通流量大小的計算,會有助于我們對浪涌保護器通流量大小的選擇。
中為防雷從以下內容進行介紹:
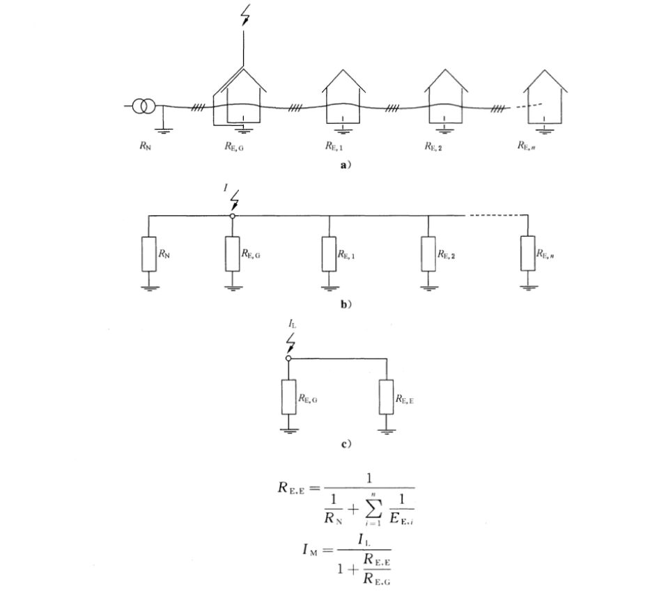
根據下圖所示,一個帶有LPS系統的建筑物遭受雷擊。雷擊電流IL將會沿著避雷針流入被擊建筑物的接地系統。這將導致電壓潛在升高,繼而產生閃絡或者電涌保護器的動作,所以雷電流部分進入了系統的4條線路中。
說明:
Rn——中線接地電阻;
Reg——被擊建筑物的接地電阻;
Rei——第i個建筑物接地電阻;
Ree——除建筑物的接地電阻以外的總接地電阻;
iL——被擊建筑物的雷電流;
Im——進人電源系統的雷電流。
注:這種計算,臨近建筑物的接地電阻Ree等于或小于建筑物雷擊的接地電阻Reg。
經過分配的部分電流Im會在系統和設施中產生過電壓,并作用在絕緣和相連的儀器設備上。因此,不僅受到雷擊的建筑物有危險,與建筑物相鄰的建筑物或設施也存在危險。
簡化網絡(圖2)可用于簡單計算流入配電系統的部分電流Im。
注:該計算只對能量分配有效(雷電流的波尾)。
電涌保護器在電涌的條件下承受的應力是許多復雜且相關聯的參數的函數,包括:
——建筑物中SPD浪涌保護器的位置:它們位于主配電盤或者是二級配電盤的設施內,甚至是在最后一級用戶的設備前邊;
——電涌保護器上游的元件:例如熔斷器、導線橫截面積等,都可能會限制整個系統的電涌承受能力和電涌保護器所承受的最大電應力;
——設備與雷擊的耦合路徑:例如,是經過雷電直擊建筑物的雷電防護系統,還是由于附近的雷擊感應到建筑物配線上;
——雷電流在建筑物中的分布:例如,雷電流中有多少進入了接地系統,剩下多少雷電流通過配電系統和等電位連接的SPD浪涌保護器尋找路徑流向遠處的大地;
——配電系統的類型:中性線的接地方式會顯著影響雷電流在配電系統的分布。例如,中性線多重接地的TN-C系統可提供一條比TT系統更直接和更低阻抗的泄放雷電流的路徑;
——與設備相連的其余導電裝置:它們將分流一部分雷電流,從而減少了通過等電位連接SPD電涌保護器而流入配電系統的雷電流。應注意到由于這些導電裝置可能被非導電物體代替,這部分分流功能可能會消失;
——波形類型:在產生電涌的情況下,不能僅簡單地考慮SPD電涌保護器傳導的電流峰值,還必須考慮電涌的波形。
人們已經做了大量的嘗試來定量分析電氣環境和設施內不同位置的SPD電涌保護器將經受的“威脅等級”。
GB/T21714.4-2008已經基于雷電保護水平通過考慮SPD電涌保護器上可能出現的最大電涌幅值來闡述這個問題。例如,該標準假設在I類雷電保護水平下,直接擊中建筑物雷電防護系統的雷電流幅值可高達10/350 200kA。如果達到這個水平,它發生的統計概率僅為1%。換言之,99%的情況下放電電流將小于假設的200kA峰值電流水平。
另外,假定電涌電流中的50%是通過建筑物的接地系統泄放,50%通過連接到三相四線配電系統的等電位浪涌保護器泄放。假設沒有其他的導電裝置存在,這意味著初始200kA的雷電流分配到每個SPD中的電流都是25kA。
電流分布的簡化假設對確定電涌保護器可能承受的威脅等級是十分有用的,但要注意考慮假設條件。在上述例子中,已經考慮一個200kA的雷電放電。進而可知在99%的情況下,等電位浪涌保護器的威脅水平將小于25kA。
另外,這種流過電涌保護器的電流分量的波形與初始放電電流的波形相同,然而實際電流波形可能由于建筑物內線纜的阻抗而發生改變。
基于長時間的現場經驗積累,許多標準考慮了運行中的電涌保護器可能經受的威脅等級。例如IEEE標準C62.41.1和C 62.41.2,給出了不同電涌保護器安裝位置的暴露水平。
從上可知,合適的浪涌保護器參數Imax和Iimp的選取,很顯然取決于許多復雜和相互關聯的參數。用戶不僅要考慮到注入的電流是如何在建筑物以及配電系統中傳播的,還要考慮到與放電電流的幅值和波形相關的概率統計問題。
必須注意到,通過電力線路、電話線以及數據線進入建筑物的電涌對建筑物內電子系統造成破壞的概率遠大于雷電直擊建筑物本身造成破壞的概率。
有些建筑物沒有或可能不需要LP系統,這樣的話,也許不需要高電流的I類電涌保護器,而采用低保護水平Up的II類電涌保護器。
由于上述問題的復雜性,應牢記選擇電涌保護器最重要的一點是在預期電涌發生時電涌保護器限制電壓的性能,而不是其所能耐受的能量大小(Imax、Iimp和Uoc)。一個具有低限制電壓的電涌保護器,可以確保對設備提供足夠的保護,而一個具有高耐受能量的電涌保護器僅能延長其運行壽命。
廣東中為智能防雷技術有限公司
